| Сошка
предназначается
для
использования
танкового
пулемёта
ДТМ в полевых
условиях в
качестве
ручного
пулемёта в
случае, если
по условиям
боя экипаж
будет
вынужден
покинуть
танк
(бронеавтомобиль).
Сошка
(рис. 33) служит
д упором при
стрельбе из
пулемёта и
состоит из
хомута,
движка и
двух ножек,
укреплённых
в движке.
 |
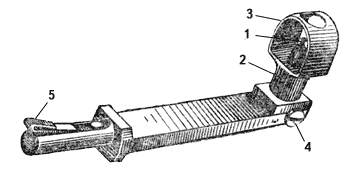
Рис. 33. Сошка:
1–хомут;
2–застежка
хомута;
3–винт с
барашком;
4–движок;
5–ноги;
6–застежка
ног;
7–башмаки;
8–отверстие
для
кронштейна
мушки
|
Верхняя
часть
хомута
называется
застёжкой
хомута и
соединяется
с нижней
частью при
помощи
винта с
барашком.
Сверху
застёжка
хомута
имеет
цилиндрическое
отверстие
для
кронштейна
мушки.
На
ножках
сошки
имеются
башмаки,
которые
ограничивают
вхождение
сошников в
грунт.
В
сложенном
виде ноги
скрепляются
пружинной
застёжкой.
Кронштейн
мушки (рис. 34)
служит для
закрепления
мушки на
застёжке
хомута
сошки. Мушка
ввинчена в
основание
мушки.
 |
Рис. 34.
Кронштейн
мушки:
1–мушка;
2–основание
мушки;
3–предохранитель
мушки; 4–винт
основания
мушки; 5–
зашейка
кронштейна
|
Верхняя
часть мушки
коническая
и
заканчивается
шариком;
средняя —
квадратного
сечения (для
ключа).
Положение
мушки может
регулироваться
по высоте и
боковому
направлению.
Положение
мушки по
высоте
регулируется
при помощи
ключа,
надеваемого
на
квадратную
часть мушки,
—
ввинчиванием
или
вывинчиванием
из
нарезного
гнезда
основания
мушки,
Боковое
регулирование
мушки
осуществляется
при помощи
винта в
основании
мушки.
Основание
мушки имеет
выступы для
соединения
с
кронштейном
мушки, а
также
нарезные
отверстия
для мушки и
винта.
Верхняя
часть
основания
мушки
заканчивается
предохранителем,
который
предохраняет
мушку от
случайных
ударов и
способствует
более
равномерному
её
освещению.
Кронштейн
мушки в
передней
части имеет
поперечную
канавку с
боковыми
пазами для
присоединения
основания
мушки и
перемычку
для винта
основания
мушки.
В
задней
части
кронштейн
заканчивается
четырёхгранной
головкой и
цилиндрическим
стержнем с
продольной
канавкой для
пружинной
защёлки,
которая
удерживает
кронштейн в
отверстии
застёжки
хомута. На
переднем
торце
кронштейна
имеется
шкала с
делениями в 0,5
мм. Эти
деления
предназначены
для
определения
величины
передвижения
мушки при
приведении
пулемёта к
нормальному
бою.
Для
крепления
сошки к
пулемёту
необходимо
предварительно
вставить
кронштейн
мушки в
отверстие
застёжки
хомута до
упора
головкой в
застёжку.
Кронштейн в
этом
положении
должен
удерживаться
пружинной
защёлкой.
Кронштейн
должен быть
направлен
вперёд, а
зажимной
барашек
хомута
вправо, после
чего пулемёт
планшайбой
накладывается
на
основание
хомута так,
чтобы
нижний
выступ
планшайбы
вошёл в
соответствующий
вырез
основания
хомута,
затем
застёжка
хомута
закрепляется
зажимным
барашком
(рис. 35).
 |
Рис. 35. 7,62-мм
пулемёт ДТМ
на сошке
|
При
закреплении
застёжки
хомута
четырёхгранная
головка
кронштейна
своим
нижним
срезом
должна
плотно
прилегать к
плоскости
верхнего
клинообразного
выступа
планшайбы
пулемёта,
чем
достигается
стабильное
положение
мушки.
В
походном
положении
танка сошка
отдельно от
пулемёта
укладывается
в
брезентовый
чехол;
кронштейн
мушки
укладывается
отдельно в
соответствующее
гнездо
чехла.
|