|
Владислав
Буянов
Её
Величество
История
перевернула
2-тысячную
страницу и
начался
отсчёт
времени
следующего,
уже XXI
столетия.
Говорят,
история
повторяется.
Это правило
не обошло
стороной и
стрелково-охотничий
спорт. Ровно
век назад в
России
спортивно-охотничья
стрельба,
пришедшая из
Европы,
приобрела
огромную
популярность.
В
Санкт-Петербурге
и Москве
создаются
первые клубы
любителей
стрельбы и
правильной
охоты.
Соревнования
в стрельбе по
голубям
собирают
огромное
количество
участников.
Строятся
первые
стенды для
стрельбы по
летящим
глиняным
мишеням. Но
это
продолжалось
недолго.
Революция 1917
года
предопределила
дальнейшую
историю:
«буржуазным
развлечениям»
– не место в
стране
Советов...
|
|
Стандартное
стрелковое
место
(«номер»).
Каркас
ограничивающий
поворот
заряженного
ружья в
сторону
соседних
стрелковых
мест. |
|
И вот,
столетие
спустя,
Россия
возвращает
себе то, что
когда-то
утра-тила. В 1999
году
спортинг –
один из
наиболее
популярных
видов
спортивно-охотничьей
стрельбы –
становится
официальным
видом
спорта. Вновь
создаются
клубы,
строятся
специализированные
стенды,
проводятся
первые
крупные
соревнования.
С
момента
становления
спортивно-охотничья
стрельба
сформировала
в себе шесть
самостоятельных
упражнений
(версия FITASК). В
странах
Скандинавии
и Англии
существуют
свои
стрелковые
версии. В
этой статье
мы
рассмотрим
упражнение
компакт-спортинг
(compak sporting) с точки
зрения его
технического
оснащения,
официальных
правил, а так
же варианты
организации
спортинговой
площадки с
неполным
комплектом
машинок.
«Компакт-спортинг»
– это
стрельба по
летящим
мишеням,
траектории
которых
имитируют
движения
различных
птиц и
животных
(гусей,
фазанов,
уток, зайца и
т. д.). Стрельба
может
проводиться
на
специально
организованных
площадках в
естественной
среде (лес,
поле, карьер), а
так же на
типовых
площадках
траншейного
или круглого
стенда.
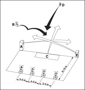
В
соответствии
с
международными
и
национальными
правилами
площадка для
компакт-спортинга
состоит из
4-х
стрелковых
мест
размером 1х1 м,
которые
располагаются
на линии
параллельной
хорде
площадки
круглого
стенда или
линии
машинок
траншейного
стенда и
отстоящей
от них на
расстоянии 8-15
м. Стрелковые
места
расположены
по центру
площадки, и
расстояние
между ними
колеблется
от 3 до 5 метров.
Каждое
стрелковое
место
должно быть
оборудовано
специальной
«перегородкой»,
которая
исключает
поворот
оружия в
сторону
соседних
стрелковых
номеров.
Площадка
должна быть
оборудована
5
метательными
машинками,
которые
устанавливаются
в
определённом
порядке и
обозначаются
латинскими
буквами «А»,
«В», «С», «D»,
«Е» по
часовой
стрелке.
Машинки
должны
обеспечивать
максимально
разнообразный
набор
вариантов
полёта
мишеней, при
этом все
мишени
должны быть
удобны для
поражения с
любого из 4-х
стрелковых
мест. В
компакт-спортинге
имеется 2
типа
траекторий.
Обязательные
траектории:
– одна
траектория
слева
направо, –
одна
траектория
справа
налево, –
одна
траектория
прямая
(угонная).
При выборе
дополнительных
траекторий
(«заяц»,
«вышка»,
«фазан»,
«чирок» и т. д.)
учитываются
только
особенности
рельефа
местности.
В
компакт-спортинге
применяются
все виды
мишеней –
стандартные,
миди, мини,
супер-мини,
«баттуе»,
«заяц» и др.
Первые
четыре
имеют
аэродинамическую
форму
тарелки и
отличаются
друг от друга
только
размером.
«Баттуе»
–
двояковыпуклый
диск. При
снижении
скорости
полёта эта
мишень
«сваливается»
с
траектории
и начинает
хаотично
падать.
Мишень
«заяц»
представляет
собой
плоский
диск,
усиленный
по краю
ребром
жёсткости.
Приобретая в
машинке
сильное
вращение,
мишень
быстро
катится по
земле,
подпрыгивая
на
неровностях.
Стрельба
ведётся по
одиночным и
парным
мишеням –
дублетам.
Существуют
три вида
дублетов:
–
сигнальный
дублет – это
мишени,
выпускаемые
одной или
двумя
машинками,
при этом
первая
мишень
выпускается
по команде
стрелка, а
вторая
немедленно
после
выстрела по
первой;
–
синхронный
дублет – это
две мишени,
выпущенные
одной или
двумя
машинками
одновременно
по
различным
траекториям;
–
интервальный
дублет –
мишени
подаются
одной
метательной
машинкой и
двигаются
по одной
траектории
с
фиксированной
паузой.
Всё
многообразие
траекторий
полётов, их
типов и
комбинации
дублетов
стало
возможным
благодаря
высокому
техническому
совершенству
метательных
машинок.
Различные
фирмы-производители
выпускают
широкий
ассортимент
изделий – от
ручных
машинок до
многофункциональных
автоматов,
способных
принять в
себя до 900
мишеней и
запускать
их по
различным
траекториям.
У последних
есть только
одно
отрицательное
качество –
они дорогие.
Но, как
известно,
хорошие
вещи
дешёвыми не
бывают, а
очень
хорошие –
тем более.
Не
каждая
организация
или
спортивный
клуб в
состоянии
оборудовать
площадку с
пятью
машинками,
как того
требуют
правила. Но
это не
всегда и
нужно. Если
не
планируется
проведение
официальных
соревнований,
то
достаточно
установить
две
метательных
машинки, и
вопросы
подготовки
охотников,
во многом,
решены.
Практика
показала,
что для
организации
такой
площадки
наиболее
подходят
переносные
автоматические
метательные
машинки с
кассетой до 200
мишеней,
работающие
от обычного
12-вольтового
автомобильного
аккумулятора.
Это
позволяет
устанавливать
данные
машинки на
любом
подходящем
для стрельбы
месте.
Спортинг –
это не
только
соревнования,
но и
возможность
отлично
провести
своё
свободное
время для
охотников и
любителей
стрельбы.
Поэтому во
всём мире
широко
развиты
услуги по
организации
спортивно-охотничьего
досуга.
Владельцы
загородных
отелей и
охотничьих
баз давно
сделали
вывод, что
наличие
тира и
площадки для
спортинга
являются для
клиента
весьма
значимым
фактором при
выборе
места
отдыха или
охоты. Даже
на
теплоходах,
осуществляющих
туристические
круизы, среди
предлагаемых
пассажирам
услуг
присутствует
стрельба по
мишеням-тарелочкам,
которые
запускаются
прямо с
верхней
палубы.
Россия
пока не
может
похвастать
таким
широким
распространением
и высоким
уровнем
спортивно-охотничьих
услуг, какой
имеется во
всех
развитых
странах. Но
мы только в
начале пути.
По этому
поводу
уместно
вспомнить
пословицу: «В
России долго
запрягают,
но быстро
ездят». И,
похоже, что
период
«запрягания»
уже прошёл.
За время
своего
существования
отечественный
спортинг
шагнул
далеко за
пределы двух
столиц.
Теперь в зону
его влияния
попали
Мурманск,
Липецк,
Новосибирск,
Ижевск,
Тольятти...
Пожалуй,
дальше этот
процесс
будет
развиваться
по принципу
геометрической
прогрессии.
Уже
сейчас во
всех
регионах,
где
развивается
спортинг,
спрос на эту
услугу
резко возрос.
Об этом,
прежде всего
говорит
возросшее
число людей,
посещающих
стрелковые
стенды.
Законы
экономики
говорят –
спрос
рождает
предложение.
И думается,
что
предложение
не заставит
себя ждать.
Конечно,
пока трудно
рассчитывать
пострелять
по мишеням с
палубы
российского
теплохода,
но уж
руководителям
охотничьих
баз точно
стоит
задуматься
об
оборудовании
стрелковой
площадки.
Кстати
говоря, такая
площадка
площадка для
спортивно-охотничьей
стрельбы
давно уже
имеется на
главной
охотничьей
базе страны
–
«Завидово»,
да и не
только
там...
 |
|
Переносная
метательная
машинка BEOMAT MSP 200.
Конструкция
достаточно
универсальна
и обладает
широким
диапазоном
регулировок,
обеспечивая
запуск
мишеней по
самым
разнообразным
траекториям.
Машинка
широко
используется
на
площадках
для
спортинга |
| |
 |
|
Используя
всего две
метательных
машинки на
одной и той
же площадке
можно
сымитировать
траектории
полёта
основных
видов
пернатой
дичи,
встречающихся
на реальной
охоте.
Показанные
траектории
являются
характерными
для
спортинговых
упражнений |
| |
 |
|
Среди
метательных
машинок
попадаются
своеобразные
«монстры»,
обладающие
умопомрачительным
набором
функций.
Сложно
сказать что
не умеет
делать такая
машинка.
Пожалуй, что
только
самостоятельно
перемещаться
с места на
место по
команде
стрелка |
|